Что показывает датчик?
Но как же будет вести себя в схеме терморегулятора для погреба этот прибор? Нужно в этом разобраться. Допустим, в помещении абсолютный ноль – это 273 градуса ниже нуля по Цельсию. Это 0 К, следовательно, вам придется сделать небольшую конвертацию величины. Именно в условиях, когда температура 0 К, датчик не будет вырабатывать сигнал.

Как только произойдет увеличение температуры на 10 К, напряжение возрастет на 0,01 вольта. И так будет происходить при каждом увеличении температуры. Но нужно учесть, что таких температур не бывает, а 0 градусов по Цельсию – это 273 К. Нормальные условия, согласно всем учебникам, – это 25 градусов Цельсия, или 298 К. Совершив несколько простых действий, можно определить, что при температуре 25 градусов по Цельсию на сигнальном выводе датчика будет напряжение в 2,9815 вольта.
Диапазон температур, в которых работает прибор, лежит в интервале -40..+100 градусов по Цельсию. Причем основная характеристика его линейна в этом диапазоне – это облегчает расчет напряжений и температур. И не стоит забывать, что абсолютный ноль – это 273,15 К. В точных расчетах не нужно пренебрегать даже сотыми долями значений.
Основные функции
К основным функциональным возможностям регуляторов температуры воздуха в помещениях можно отнести следующие:
- Экономия расхода топливных ресурсов. Воздушные термостаты «следят» за уровнем прогрева воздуха, не допуская перерасхода тепловой энергии. Система выключения и включения отопления срабатывает при выходе уровня температуры из заданного диапазона.
- Создание комфортных условий пребывания людей внутри жилых домов и зданий различного назначения.
- Несколько датчиков регулирования температуры воздуха в отдельных помещениях могут корректировать температурные режимы в каждом из них.
- Во время отсутствия людей термостат может значительно понижать нагрев тёплых полов, включать экономный режим работы электрического котла, водонагревателя либо другой системы отопления.
- Безопасность эксплуатации системы обогрева при перегреве или отключении источника тепловой энергии обеспечивается автоматическим звуковым или электронным сигналом термореле.
Важно! Режим работы системы терморегуляции может быть задан удалённо через интернет. Хозяин жилья до прихода домой по смартфону устанавливает настройку нужной степени прогрева воздуха в помещениях
Самодельный терморегулятор: пошаговая инструкция
Если вы приобрели все необходимые составляющие для сборки, осталось рассмотреть подробную инструкцию. Рассматривать будем на примере датчика температуры рассчитанного на 12В.
Самодельный регулятор температуры собирается по следующему принципу:
- Подготавливаем корпус. Можно использовать старые оболочки от счетчика, например от установки «Гранит-1».
- Схему подбираете ту, которая вам больше понравится, но можно и сориентироваться и на плату от счетчика. Прямой ход с пометкой «+» необходим для подключения потенциометра, Инверсионный вход с о будет служить для подключения термодатчика. Если так случилось, что напряжение на прямом входе будет выше требуемого, на выходе установится высокая отметка и транзистор начнет подавать питание на реле, а оно в свою очередь на нагревательный элемент. Как только напряжение на выходе превысит допустимую отметку – реле отключится.
- Для того чтобы терморегулятор срабатывал вовремя и перепады температур были обеспечены, потребуется сделать с помощью резистора связь отрицательного типа, которая образуется между прямым входом и выходом на компараторе.
- Что касается трансформатора и его питания, то здесь может понадобиться индукционная катушка от старого электрического счетчика. Для того чтобы напряжение соответствовало показателю в 12 вольт, вам нужно будет сделать 540 витков. Уместить их получится только в том случае, если диаметр провода будет не более 0,4 мм.
Вот и все. В этих небольших действиях и заключается вся работа по созданию терморегулятора своими руками. Возможно, самому без определенных навыков сделать его сразу и не получится, однако с опорой на фото и видео инструкции вы сможете испытать все свои умения.
Благодаря простой конструкции, самостоятельно созданный термоконтроллер может быть использован где угодно.
Например:
- Для теплого пола;
- Для погреба;
- Котла отопления;
- Может заняться регулировкой температуры воздуха;
- Для духовки;
- Для аквариума, где будет контролировать температурный показатель воды;
- Для того чтобы контролировать температурное значение насоса электрокотла (его включения и отключение);
- И даже для автомобиля.
Не обязательно использовать цифровой, электронный или механический покупной термовыключатель. Купив недорогое термореле, сделать регулировку мощности на симисторе и термопаре и ваш самодельный аппарат будет работать не хуже покупного.
Схема подключения
К каждому термостату производитель в обязательном порядке прикладывает детальную инструкцию, в которой пошагово описано, как правильно подключить термостат и как им пользоваться. Но есть некоторые общие правила монтажа, которые необходимо обязательно соблюдать, если необходимо подсоединить терморегулятор самостоятельно.
Большая часть терморегуляторов рассчитана на работу от подключения к сети с напряжением 220 В. Перед подключением необходимо удостовериться в том, что этот показатель соответствует реальности.
Лучше всего если розетки и сам датчик будут закреплены на одном уровне примерно на высоте полутора метров от пола
Если розетки расположены выше или ниже, следует использовать удлинитель.
Важно расположить терморегулятор так, чтобы он не был расположен рядом с входной дверью, окном или же любыми отопительными приборами. Такие перепады температуры будут искажать реальные данные, в итоге работать термостат будет неправильно.
Перед подключением терморегулятора необходимо проверить исправность розетки, а также самого обогревателя
Все составляющие такой системы отопления должен находиться только в исправном состоянии.
Как только монтаж терморегулятора будет окончен, необходимо сразу же запрограммировать его на дальнейшую работу – то есть задать настройки.


Стоит помнить, что перед тем как приступать к непосредственной установке терморегулятора любого типа, необходимо убедиться в том, что под рукой имеются все необходимые комплектующие части.


О том, как выбрать комнатный терморегулятор для обогревателя, вы можете узнать из видео ниже.
Цифровой терморегулятор
Для того чтобы создать полноценно функционирующий терморегулятор с точной калибровкой, без цифровых элементов не обойтись. Рассмотрим прибор для контроля температур в небольшом хранилище для овощей.
Основным элементом здесь является микроконтроллер PIC16F628A. Эта микросхема обеспечивает управление разными электронными устройствами. В микроконтроллере PIC16F628A собраны 2 аналоговых компаратора, внутренний генератор, 3 таймера, модули сравнения ССР и обмена передачи данных USART.
При работе терморегулятора значение существующей и заданной температуры подается на MT30361 – трехразрядный индикатор с общим катодом. Для того чтобы задать необходимую температуру, используются кнопки: SB1 – для уменьшения и SB2 – для увеличения. Если проводить настойку с одновременным нажатием кнопки SB3, то можно установить значения гистерезиса. Минимальным значением гистерезиса для этой схемы является 1 градус. Подробный чертеж можно увидеть на плане.
При оборудовании погреба необходимо создать такой температурный режим, при котором все запасы будут сохраняться максимально долго. А чтобы его поддерживать, потребуется терморегулятор — прибор, который помогает поддерживать заданную температуру. Это устройство используется во многих бытовых приборах: утюгах, холодильниках, паяльниках. Как сделать терморегулятор для погреба своими руками?
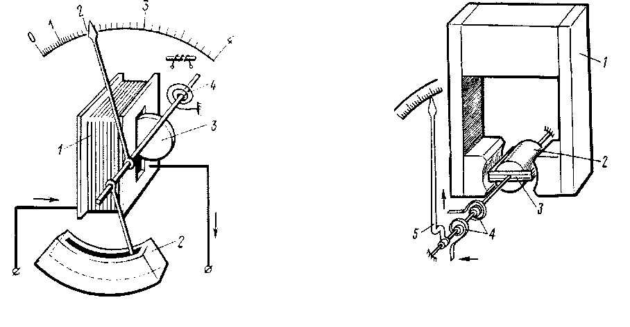
Что такое амперметр, его виды
Как показано на рисунке, прибор включают последовательно в цепь, по которой идет электрический ток. Чтобы минимизировать влияние на реальные физические процессы, необходимо уменьшить внутреннее сопротивление амперметра. Для снятия показаний пригодится крупная шкала. При выборе подходящего оборудования также учитывают следующие факторы:
- цифровой индикатор упрощает процесс измерений;
- работать с малыми и сильными токами проще с применением разделения на несколько диапазонов;
- при неблагоприятных внешних условиях (влажность, вибрации) следует учитывать соответствующую защищенность прибора.
Магнитоэлектрические
Измерительный блок приборов данной категории состоит из двух основных компонентов. Между полюсами постоянного магнита размещают индукционную катушку. При прохождении через обмотки тока она поворачивается. Присоединив стрелку и шкалу, фиксируют эти движения для получения результатов измерений. Встроенными пружинами ограничивают амплитуду отклонений, возвращают движущиеся компоненты в исходное положение. Встроенным поводком регулируют натяжение. Грузиками компенсируют силу тяжести.
Устройство и принцип действия магнитоэлектрического прибора
На двух схемах цифрой 1 обозначен источник поля, которое поворачивает катушку (3), жестко закрепленную на центральной оси. Устройство начинает функционировать, когда по цепи проходит ток. Спиральная пружина (4) корректирует движения. В первом варианте установлен ограничитель (2), предотвращающий повреждение стрелки.
Преимуществами такого инженерного решения являются:
- высокая точность;
- хорошая чувствительность;
- отсутствие дополнительных источников питания;
- демократичная стоимость.
На заметку. Главный недостаток – механические части. Сложность конструкции подразумевает ухудшение надежности. Следует помнить о негативном влиянии ударов и других внешних воздействий. Такой прибор подходит для измерения постоянного тока.
Электромагнитные
Вряд ли обычному пользователю придется ремонтировать сложные устройства. Поэтому далее подробно рассмотрены выбор и подключение амперметра. Электромагнитные приборы универсальны. Они подходят для измерения постоянного и переменного тока. Чувствительность в данном случае несколько ниже, по сравнению с предыдущим примером. Однако в некоторых ситуациях ее вполне достаточно.
Термоэлектрические
Приборы этой категории выполняют измерения по косвенной методике. С помощью термопары или аналогичного устройства происходит преобразование переменного тока в постоянный. Его значение контролируют включением в дополнительную цепь магнитоэлектрического или другого амперметра. В контактном исполнении обеспечивается повышенная чувствительность. Чтобы исключить гальваническую связь, датчик помещают в слой из нейтрального материала (стекла, полимера).
Электродинамические
В этом варианте устанавливают рядом две катушки. Через одну, подсоединенную к индикаторному устройству, пропускают ток. Вторая – фиксируется неподвижно. Такая схема отличается повышенной чувствительностью. Даже слабые магнитные поля оказывают на движущийся элемент достаточно сильные воздействия. Чтобы получить точные измерения, максимально удаляют прибор от источников помех, применяют экранировку.
Ферродинамические
Особенным элементом устройства является проводник с ферритовыми свойствами. Высокая напряженность поля в рабочей зоне существенно уменьшает внешние паразитные воздействия. Такие приборы даже без специальной экранировки можно подключать в цепь около силовых линий электропередач.
Детали устройства

В принципе, в этом качестве может быть задействован любой полупроводниковый элемент, так как характеристики этих деталей всегда зависят от температуры.
Так, например, ток коллектора обычного биполярного транзистора при нагреве возрастает, что неминуемо отражается на работе усилительного каскада (транзистор перестает реагировать на входной сигнал из-за смещения рабочей точки).
Похожим образом реагируют на изменение температуры и кремниевые диоды. При температуре +25 градусов напряжение на контактах свободного диода составит около 700 мВ, а замеры на перманентном диоде покажут примерно 300 мВ. Если же температура будет повышаться, напряжение с каждым градусом будет падать примерно на 2 мВ.
Однако, у всех этих элементов есть существенный недостаток: собранные на их базе терморегуляторы с большим трудом приходится настраивать, иначе говоря, калибровать. Ведь нам только приблизительно известно, какую элемент демонстрирует характеристику при той или иной температуре и как именно он реагирует на ее колебания. Гораздо проще работать с выпускаемыми современной промышленностью термодатчиками, проходящими калибровку еще на стадии производственного процесса.
Сильного удорожания проекта покупка такой детали не вызовет. Так, например, аналоговый термодатчик марки LM-335 компании National Semiconductor стоит всего 1 доллар.
Можно использовать и его модификации – датчики LM-135 и LM-235, хотя они предназначены для применения, соответственно, в военной электронике и промышленности.

Только в данном случае все параметры досконально известны: на каждый градус по шкале абсолютных температур (Кельвина) приходится напряжение в 10 мВ или 0,01 В.
Таким образом, если мы хотим знать, каким будет напряжение стабилизации LM-335 при температуре 20 градусов Цельсия, нужно прибавить к этому значению 273 (перевод в градусы Кельвина), а затем результат умножить на 0,01 В. В данном случае получим 2,93 В. На производстве датчик калибруется по температуре 25 градусов Цельсия. Рабочий диапазон температур, в пределах которого напряжение меняется линейно и по указанному закону (10 мВ/градус) лежит в пределах от -40 до +100 градусов Цельсия.
Итак, зная точное напряжение стабилизации LM-335 при той или иной температуре, нам остается выставить соответствующее напряжение на втором входе компаратора – и настройка терморегулятора будет завершена.
- Схему на базе термодатчика LM-335 следует компоновать таким образом, чтобы через него протекал ток величиной от 0,45 до 5 мА. Отметим, что напряжение питания терморегулятора не обязательно должно составлять 12 В. Это значение было предложено только потому, что оно позволяет применить вместо самодельного блока питания (понижающий трансформатор + выпрямитель + стабилизатор) обычный адаптер, который можно недорого купить в магазине. Если же все делать самостоятельно, то понижающий трансформатор можно собрать в расчете на выходное напряжение в пределах 3 – 15 В. Главное, чтобы на такое же напряжение было рассчитано используемое в схеме реле.
- Далее подбирают сопротивление резисторов делителя напряжения и переменного резистора таким образом, чтобы при имеющемся напряжении сила протекающего через термодатчик тока находилась в указанных пределах. В принципе, датчик останется работоспособным и при силе тока свыше 5 мА, но тогда он будет сильно греться, из-за чего терморегулятор будет работать некорректно.
- В качестве компаратора можно применить микросхему того же производителя, выпускаемую под маркой LM-311 (модификации для «военки» и промышленности – соответственно, LM-111 и LM-211).
Используемое в схеме реле является многоконтактным (типа МКУ). В упрощенном исполнении (без аккумулятора) можно воспользоваться автомобильным реле
Важно удостовериться, что допустимая для данного реле величина силы тока соответствует мощности нагревателя
Как сделать терморегулятор своими руками: пошаговая инструкция
Рассмотрим, как изготавливаются терморегуляторы (термореле) с датчиком температуры воздуха своими руками на 12 В. Сборка прибора осуществляется в такой последовательности:
- Прежде всего, нужно подготовить корпус. Подойдет отслуживший свое счетчик, например, «Гранит-1».
- Схему можно собрать на плате от того же счетчика. К прямому входу компаратора (помечен знаком «+») подключается потенциометр, позволяющий задавать температуру. К инверсному входу (знак «-») – термодатчик LM335. Если напряжение на прямом входе окажется более высоким, чем на инверсном, на выходе компаратора установится высокий уровень (единица) и транзистор подаст питание на реле, а оно – на нагреватель. Как только напряжение на инверсном входе окажется большим, чем на прямом, уровень на выходе компаратора станет низким (ноль) и реле отключится.
- Чтобы обеспечить перепад температур, то есть срабатывание терморегулятора, к примеру, при 23-х градусах, а отключение – при 25-ти, необходимо при помощи резистора создать отрицательную обратную связь между выходом и прямым входом компаратора.
- Трансформатор для питания терморегулятора можно изготовить из катушки от старого электросчетчика индукционного типа. На ней имеется место для вторичной обмотки. Чтобы получить напряжение в 12 В, необходимо намотать 540 витков. Их удастся уместить, если использовать провод диаметром 0,4 мм.

Простой самодельный термостат
Для включения нагревателя удобно использовать клеммник счетчика.
Способы обнаружить проблему
Если термореле сломалось, это не означает, что и весь холодильный аппарат сразу же прекратит работу. Но отсутствие корректных сведений о текущей температуре отразится на его работе.
Вариант #1 — проверить функционирование техники
Симптомы некорректной работы холодильного оборудования могут быть такими:
- компрессор работает без перерывов или с очень короткими и редкими перерывами;
- температура внутри камеры холодильника понижается до нуля, а иногда и ниже;
- на стенках появляется большое количество изморози или даже льда;
- внутри холодильника слишком тепло;
- холодильник не включается после отключения и т.п.
Конечно, эти признаки могут быть связаны не только с поломками термореле, но и с неисправностями других элементов.

Чтобы правильно определить причину проблем, выявленных в процессе функционирования бытового холодильника, понадобится провести небольшую диагностику. Это можно сделать самостоятельно
Вариант #2 — диагностика с помощью термометра
Для этого нужно полностью отключить холодильник от электропитания, а затем провести его полную разморозку в соответствии с инструкцией. Конечно, содержимое придется вынуть.
После этого нужно включить прибор в сеть и перевести ручку настройки терморегулятора в положение, которое позволит получить максимально низкую температуру. Если в модели холодильника предусмотрен режим заморозки, рекомендуется использовать его.

Чтобы протестировать работу термореле, нужно освободить холодильник от всех продуктов, поместить внутрь камеры термометр и проверить его показания через несколько часов
В холодильную камеру примерно посередине нужно положить термометр, предназначенный для измерения температуры воздуха.
Лучше использовать прибор, который позволяет делать измерения и ниже нуля. Холодильник оставляют в таком режиме примерно на два часа. После этого нужно проверить показания термометра.
Если в холодильной камере температура к этому моменту понизилась примерно до шести градусов, с терморегулятором проблем нет. Но когда внутри стало заметно теплее или холоднее этого уровня, термореле придется заменить.
Вариант #3 — визуальный осмотр камеры холодильника
Если после размораживания внутри камеры очень быстро образуется так называемая снежная шапка, первичную диагностику исправности терморегулятора можно выполнить очень просто.

Появление снежной шубы в холодильной камере почти всегда означает, что терморегулятор работает некорректно, нужно провести диагностику его состояния
Для этого в момент работы компрессора регулировочную ручку начинают поворачивать в сторону увеличения температуры внутри камеры.
Если реле исправно, в определенный момент датчики зафиксируют нужный уровень температуры, после чего двигатель компрессора отключится. Если же двигатель продолжает работать — терморегулятор нужно менять.
После такой диагностики и при исправном термореле рекомендуется вынуть из камеры все содержимое и позволить прибору поработать вхолостую около шести часов
В этот период нужно обратить внимание на длительность перерывов в работе компрессора
Если она составляет около 40 минут, все хорошо, можно пользоваться холодильником в обычном режиме.
Когда компрессор включается слишком часто или редко, нужно попытаться отрегулировать этот момент с помощью настроек реле. Если это не удается, скорее всего, придется поставить новый терморегулятор.
Какие детали понадобятся: терморегулятор своими руками
Для датчика температуры чаще всего используют терморезистор, это элемент который регулирует электрическое сопротивление в зависимости от температурного показателя.
Так же часто применяют полупроводниковые детали:
- Диоды;
- Транзисторы.
На их характеристики температура должна оказывать такое же влияние. То есть при нагреве должен увеличиваться ток транзистора и при этом он должен престать работать, не смотря на входящий сигнал. Нужно учесть, что такие детали обладаю большим недостатком. Слишком сложно провести калибровку, говоря точнее, будет трудно привязать эти детали к некоторым датчикам температуры.
Однако на данный момент промышленность не стоит на месте, и вы можете увидеть приборы из серии 300, это LM335, которым все чаще рекомендуют воспользоваться специалисты и LM358n. Не смотря на очень низкую стоимость, данная деталь занимает первую позицию в маркировках и ориентируется на сочетание с бытовой техникой. Стоит упомянуть, что модификации этой детали LM 235и 135 успешно применяются в военных сферах и промышленности. Включая в свою конструкцию около 16 транзисторов, датчик способен работать в качестве стабилизатора, а его напряжение будет полностью зависеть от температурного показателя.
Зависимость заключается в следующем:
- На каждый градус будет приходиться около 0, 01 В, если ориентироваться на Цельсий, то на показатель 273 результат на выходе составит 2, 73В.
- Диапазон работы ограничивается в показателе от -40 до +100 градусов. Благодаря таким показателям, пользователь полностью избавляется от регулирований методом проб и ошибок, а требуемая температура будет в любом случае обеспечена.
Так же кроме датчика температур вам потребуется компаратор, лучше всего приобрести LM 311, который выпускает тот же производитель, потенциометр для того чтобы сформировать эталонное напряжение и выходную установку чтобы включать реле. Не забудьте приобрести блок питания и специальные индикаторы.
Правила выбора
Но мало знать, товарам каких производителей можно доверять. Необходимо также заранее оценивать основные критерии выбора конкретной модели терморегулятора.
Контроль за температурой нагрева воздушных масс в помещении. В первую очередь следует убедиться в том, что девайс контролирует именно этот показатель, а, например, не степень нагрева самого обогревателя
В противном случае приобретением может оказаться вообще бесполезным.
Важно учитывать и максимальную мощность самого отопительного прибора. Именно на ее основе следует выбирать и мощность терморегулятора
Оптимальным вариантом считается тот случай, когда мощность самого термостат как минимум на 20% выше предельной мощности обогревателя.
Необходимо учитывать тип помещения, его местонахождение и конкретные характеристики, в частности, влажность воздуха, частоту проветриваний и некоторые другие. Чем хуже будут условия эксплуатации, тем мощнее и защищеннее должен быть и сам терморегулятор.
Необходимо определить задачи, которые будет выполнять данное приспособление.
Конечно, не стоит забывать и о таких показателях, как внешний вид, размер и цвет терморегулятора. Они хоть и не являются ключевыми при выборе, но все же оказывают влияние на покупку. Лучше всего, что термостат гармонично вписывался в окружающую обстановку и не сильно выбивался из общего интерьера комнаты.
Улучшения схемы
Для улучшения характеристик схемы и увеличения надежности следует внести в исходный вариант некоторые изменения. В первую очередь это касается стабилизации напряжения питания. От стабильности напряжения питания будет зависеть точность регулировки и стабильность температуры.
В качестве стабилизатора наиболее целесообразно применить интегральный стабилизатор напряжения на микросхеме КР142ЕН8Б (КРЕН8Б), ее импортным аналогом будет микросхема 7812. Данная микросхема предназначена для стабилизации напряжения 12 В при токе до 1 А. Поскольку потребляемый устройством ток не превосходит указанной величины, то можно ограничиться установкой только интегрального стабилизатора без мощных дополнительных транзисторов.

Для исключения перегрева микросхему интегрального стабилизатора желательно разместить на небольшом радиаторе из дюралюминиевой пластины.
В стабилизаторе требования к диодному мосту такие же, как и в базовой схеме. Поскольку для нормальной работы схемы напряжение после диодного моста должно составлять 15–25 В, то конденсатор фильтра С1 должен быть рассчитан на напряжение не ниже 50 В. Конденсатор С2 предназначен для устранения высокочастотных пульсаций. Без него работа стабилизатора может стать неустойчивой.
Приведенный на схеме вариант включения реле допустим только при небольшой нагрузке в цепи нагревателя. Для более мощных потребителей реле должно быть также мощным. При этом ток срабатывания мощных реле обычно больше допустимого для выходного транзистора компаратора. Для увеличения надежности работы схемы и предохранения выходного каскада микросхемы от перегрузки реле следует включить через дополнительный каскад на мощном транзисторе.
Транзисторный ключ выполняется на транзисторах КТ815–817 с любым буквенным индексом.

В данном случае можно применить любое мощное реле, у которого допустимо напряжение 220 В на переключающих контактах. Автомобильное реле здесь не пригодно, поскольку не предназначено для коммутации высокого напряжения. Очень удобны электромагнитные реле, которые применяются в стабилизаторах сетевого напряжения релейного типа.
Для возможности ступенчатой регулировки температуры, чтобы постоянно не крутить регулятор, можно воспользоваться подключенными в схему через переключатель (день–ночь) двумя потенциометрами, каждый из которых настроен на свою температуру.
Терморегуляторы для котлов отопления
При регулировке отопительных систем важно точно откалибровать прибор. Для этого потребуется измеритель напряжения и тока
Для создания работающей системы можно воспользоваться следующей схемой.

С помощью этой схемы можно создать наружное оборудование для контроля за твердотопливным котлом. Роль стабилитрона здесь выполняет микросхема К561ЛА7. Работа устройства основана на способности терморезистора уменьшать сопротивление при нагреве. Резистор подключается в сеть делителя напряжения электричества. Необходимую температуру можно задать с помощью переменного резистора R2. Напряжение поступает на инвертор 2И-НЕ. Полученный ток подается на конденсатор С1. К 2И-НЕ, который контролирует работу одного триггера, подключен конденсатор. Последний соединен со вторым триггером.
Контроль температуры идет по следующей схеме:
- при понижении градусов напряжение в реле растет;
- при достижении определенного значения вентилятор, который соединен с реле, выключается.
Напайку лучше производить на слепыше. В качестве элемента питания можно взять любое устройство, работающее в пределах 3-15 В.
Осторожно!
Установка самодельных приборов любого назначения на системы отопления может привести к выходу из строя оборудования. Более того, использование подобных устройств может быть запрещено на уровне служб, осуществляющих подвод коммуникаций в вашем доме
Терморегулятор своими руками для погреба
Рассмотрена простая конструкция терморегулятора изготовленого своими руками для поддержания требуемой температуры внутри погреба при хранении овощей в зимнее время года. Питание схемы осуществляется от стандартного сетевого напряжения 220 вольт.
| Простой терморегулятор на Arduino |
Эту конструкцию проще всего собрать своими руками, в роли температурного датчика используется цифровой модуль DS18B20 с диапазоном измерения от -55 до 125 °С. Самодельное устройство имеет всего две кнопки управления «+» и «-» для настройки требуемых градусов, шаг настройки 0,5 °С. Arduino управляет работой модуля DS18B20 c гистерезисом в 0,5 °С. Если в течении трех секунд не будет регулирования градусов, дисплей покажет текущую температуру. Значение которой сохраняется в энергонезависимой памяти.
Скетч для программирования платы Arduino можно взять , схема соединения показана на рисунке ниже. Печатка не изготавливалась, т.к использовал для сборки макетную плату.
Терморегулятор на MAX6675 и контроллере Arduino
С помощью микросхемы MAX6675 можно измерить ТЭДС (термоэлектродвижущую силу) термопары типа К, результат измерения выводится в градусах Фаренгейта и Цельсия
Типы термодатчиков
Прежде, чем купить терморегулятор с датчиком температуры воздуха нужно разобраться в отличительных особенностях приборов. Изделия отличаются материалом изготовления, принципом работы и особенностями установки.
Приборы делятся на следующие варианты в зависимости от материала:
- биметаллические;
- электронные термопары;
- электронные термисторы для отопительных схем.

Электронная модель
По принципу действия бывают следующие виды:
- электронные оборудованы встроенными термометрами;
- работа механических изделий основывается на расширение пластин и передаче данных регулирующему устройству.

Механические изделия являются более бюджетным вариантом
Контроль за температурой выполняется по термодатчику воздуха, пола или с помощью комбинированных вариантов. Чаще всего сбор информации осуществляется по приборам, которые монтируются на радиаторы отопления.
Статья по теме:

Термостат незаменимое устройство в системе отопления
Бывают регуляторы с выносным механизмом, который устанавливается в отдалении от отопительного устройства, что позволяет получить более достоверные данные. Прибор с выносным устройством фиксируется на стене и подсоединяется в общую схему.

Термостат для радиатора отопления
Регуляторы встроенного типа применяются для сплит-систем
Цены на некоторые модели термостатов можно увидеть в таблице.
Нюансы терморегуляторов с выносным датчиком температуры воздуха
Некоторые модели оборудуются выносным датчиком. Устройство получает показания и в зависимости от полученных значений, прибор включается или отключается.
Подобные изделия могут управлять разным оборудованием:
водяным полом;
- электрическими обогревателями;
- инфракрасными обогревателями;
- кондиционерами.
Для инфракрасных устройств применяются термостаты розеточного типа
Электрические датчики
Электронные устройства пользуются все большей популярностью. Для контроля температуры в подобных устройствах используются полупроводниковые материалы. Схемы подключения теплого пола к терморегулятору предполагают использование тока, поэтому их подключают к розетке или используют батарейки или аккумуляторы. Электронные модели оборудуются мониторами, на которых отображаются температурные настройки, дата и время.
Современные приборы с дисплеем
Наличие дополнительных функций оказывает влияние на стоимость изделий.
Электронные устройства имеют определенные преимущества перед механическими:
- их проще устанавливать;
- обладают большим диапазоном температур, при этом могут применяться в подвальных помещениях и гаражах.
Самодельный терморегулятор
Можно собрать терморегулятор с температурным механизмом своими руками. Для этого понадобится микроконтроллер, дисплей и другие детали. Также в приборе должен механизм, измеряющий температуру
Важно правильно настроить прибор и подключить его к отопительному устройству. Разрабатывая схему подключения терморегулятора к инфракрасному обогревателю можно применять несколько устройств
Характеристики терморегуляторов с датчиком температуры воздуха для погреба
В погребе хранятся запасы продуктов, поэтому так важно поддерживать оптимальный температурный режим в данном помещении. Если данный показатель не контролировать, то температура может опуститься слишком низко холодной зимой или слишком высоко при потеплении на улице
В решении подобных проблем поможет термостат. Он контролирует температуру в погребе и поддерживает ее на нужном уровне. Устройство оснащено механизмом, который может быть встроенным или дистанционным. Терморегулятор нужно размещать на небольшой высоте над полом и поблизости с овощами и другими продуктами, которые хранятся в погребе.
В подвальном помещении не стоит использовать сильно мощное оборудование. Если площадь погреба более 10 кв. м., то стоит установить тепловентилятор, который позволяет равномерно распределять тепло.
Электронный прибор ТРо-02 для погреба
Приобретение и монтаж регулятора для отопительной системы считается выгодным решением. Термостат способен облегчить жизнь и поддерживать оптимальное температурное значение, а также помогает сэкономить средства на оплату коммунальных средств.
Что такое терморегуляторы с датчиком температуры воздуха
Терморегулятор (он же термостат), имеющий датчик температуры воздуха в помещении, является специальным контроллером, который представляет собой важнейшую деталь управления обогревательного устройства. Основная задача устройства заключается в поддержке температуры теплоносителя на конкретном уровне для охлаждения или обогрева помещения. В большинстве случаев настройка нужной температуры производится вручную, после чего термостат в автоматическом режиме регулирует работу котла или конвектора.
Основные функции
Иногда терморегулятор является составной частью климатической техники, например, электрокотла, кондиционера. Он, прежде всего, необходим для повышения уровня комфорта. Благодаря регулятору температуры нет нужды в постоянном отключении и включении котла, измерении перепадов температуры в помещении – все описанные функции выполняются устройством автоматически. Кроме того, оно необходимо для:
-
Обеспечения безопасности. Если котел по какой-то причине не отключился после автоматического сигнала регулятора или произошел перегрев, то термостат оповестит владельца об этом с помощью звукового сигнала.
- Экономии. Терморегулятор поможет сэкономить на системе обогрева или охлаждения за счет контроля температуры воздуха, благодаря которому уменьшится потребление газа или электроэнергии.
Принцип работы
Механический или электронный регулятор температуры воздуха с помощью термостата котла собирает информацию о текущих температурных показателях непосредственно в теплоносителе. Комнатные датчики при этом замеряют их внутри помещения. Затем вся собранная информация поступает в блок управления устройством или на автоматической регулятор для дальнейшего хранения и использования. После сверки полученных от датчиков показаний регулятор в соответствии с настройками либо уменьшает, либо увеличивает температуру котла. При необходимости он отключает систему обогрева.


















































