Изображение электрооборудования на планах
Согласно ГОСТ 21.210-2014 — документу, регламентирующему условные графические изображения электрооборудования и проводок на планах, есть четкие условные обозначения для каждого вида электрических устройств и связующих их звеньев: проводок, шин, кабелей. Распространяются они для каждого вида оборудования и недвусмысленно определяют его на схеме в виде графического или буквенно-численного условного обозначения.
В документе приведены представления для:
- Электрооборудования, электротехнических устройств и электроприемников;
- Линий проводок и токопроводов;
- Шин и шинопроводов;
- Коробок, шкафов, щитов и пультов;
- Выключателей, переключателей;
- Штепсельных розеток;
- Светильников и прожекторов.
Электрооборудование, электротехнические устройства и электроприемники
К категории электрооборудования относятся: силовые трансформаторы, масляные выключатели, разъединители и отделители, короткозамыкатели, заземлители, автоматические быстродействующие выключатели и бетонные реакторы.
Таблица УГО для электрооборудования
К электротехническим устройствам и приемникам относятся: простейшие электротехнические устройства, общие электрические аппараты с двигателями, электроустройства, работающие на электроприводе, приборы с генераторами, приборы представляющие собой двигатели и генераторы, трансформаторные устройства, конденсаторные и комплектные установки, аккумулирующая аппаратура, нагревательные элементы электрического типа. Их обозначения представлены на картинке ниже.
УГО для электротехнических устройств
Линии проводок и токопроводов
К данной категории относятся: линии проводки, цепи управления, линии напряжения, линии заземления, провода и кабеля, а также их возможные виды проводки (в лотке, под плинтусом, вертикальная, в коробе и т.д). В таблицах ниже представлены основные обозначения для этой категории.
Первая таблица обозначений для линий проводок
Линии проводок представляют собой кабеля и провода, способные передавать электроэнергию на достаточно большие расстояния. Токопроводами же чаще всего называют электротехнические устройства, способные передавать электричество на небольшое расстояние. Например, от генератора тока к трансформатору и так далее.
Вторая таблица обозначений для линий проводок
Третья таблица обозначений для линий проводокЧетвертая таблица обозначений для линий проводок
Шины и шинопровода
Шинопроводы представляют собой кабельные устройства, которые состоят из проводниковых элементов, изоляции и распределителей, которые передают и распределяют электроэнергию в производственных помещениях. Условные обозначения шин и шинопроводов представлены на картинке ниже.
Обозначение шин и шинопроводов
Коробки, шкафы, щитки и пульты
Среди коробок можно выделить ответвительные, вводные, протяжные, зажимные. Щитки бывают лабораторными, освещения обычного и аварийного освещения, автоматы. Все эти элементы нужны для распределения электроэнергии между отдельными участками цепи и приборами. Условие обозначения этих элементов представлены на картинке.
УГО щитков и пультов управления
Выключатели, переключатели и штепсельные розетки
Сюда входят и штепсельные розетки.
Первая таблица обозначений для переключателей
Все эти элементы используют для переключения, включения и отключения электрических цепей.
Вторая таблица обозначений для переключателей
Это может быть освещение или изменение напряжения. Следующие таблицы содержат основные обозначения для такого типа электроэлементов.
Третья таблица обозначений для переключателей
Светильники и прожектора
Множество цепей имеют в наличии светильники, прожекторы и другие осветительные элементы. Они нужны не только для сигнализации определенных состояний цепи, но и для освещения некоторых случаях.
УГО светильников
Аппаратов контроля и управления
К таким устройствам относятся счетчики, запрограммированные устройства, измерительные приборы, манометры, терморегуляторы и реле времени. Их основным элементом являются чувствительные к определенным факторам датчики.
Условные обозначения аппаратов управления
Обозначения они имеют следующие.
Условные обозначения аппаратов управления продолжение
В статье нельзя уместить графические и буквенно-числовые обозначения всех электрических приборов и элементов, но самые часто используемые были подробно рассмотрены. Также была описана документация ГОСТ схематического графического обозначения электрических элементов на схемах различных видов и типов, а также их расшифровка.
https://youtube.com/watch?v=qMg7e5qcrIw
Где можно найти условное обозначение разных видов розеток?
Регламентирует обозначение розеток на схеме ГОСТ. В нем указаны точные размеры и вид условно-графического обозначения.
Было бы слишком просто, если бы я сейчас начал рассказывать про ГОСТ 21.614. Думаю, большинство знает его очень хорошо. Дело в том, что в этом ГОСТе не хватает всех необходимых условных обозначений. Кстати, в проекте новая редакция данного ГОСТа.
Насколько мне известно, последняя версия ГОСТ 21.614-88.
Я разработал свои условные обозначения для розеток и выключателей на основе данного документа. Ведь ничто нам не запрещает вводить новые обозначения?
Может быть мои обозначения получат более широкое распространение и станут поводом для внесения в данный ГОСТ, т.к. я сомневаются, что разработкой ГОСТов занимаются проектировщики. А посторонние от проектирования люди не всегда знают тех тонкостей, с которыми сталкиваются при проектировании.
1 В зависимости от исполнения:
- скрытой установки;
- открытой установки.
2 В зависимости от степени защиты от попадания влаги и пыли:
- без защиты IP20;
- с защитой IP44 (IP54).
На основе этой классификации я разработал свои обозначения.
Для розеток скрытого исполнения IP44 я ввел обозначение в виде «заливки половины области розетки», чтобы было видно как бы вертикальную черту розетки, которая указывает, что розетка скрытого исполнения, розетка открытого исполнения IP44 имеет всю залитую область розетки.
Для двухместных, трехместных и четырехместных розеток ввел также дополнительные обозначения.
Все розетки с заземляющим контактом.
Похожее обозначение ввел и для выключателей. Двухполюсные и трехполюсные выключатели понадобятся для обозначения пакетных выключателей вблизи двигателей, переключатель на два направления 2Р – нужен для обозначения проходного выключателя при управлении из трех или более мест (средние выключатели по схеме).
Можно было бы расширить список обозначений или даже наоборот, некоторые исключить, т.к. они возможно и не существует в природе, но пока остановлюсь на таком списке.
На выключатели и розетки у меня сделано 2 блока. Сейчас я их тестирую и буду применять уже в новых проектах. Данные условные обозначения буду прилагать к каждому проекту.
P . S . Скоро поговорим и о блоках программы AutoCAD , а все те, кто оказывает помощь в развитии блога, будут периодически получать подарки в виде моих блоков.
Мы уже много раз говорили о том, насколько важно перед выполнением ремонтных работ по домашней электрике грамотно составить схему электроснабжения, с неё всё должно начинаться. На схемах отображаются основные электрические узлы – вводная линия, счётчик электрической энергии, устройства защиты, распределительные коробки и отходящие от них проводники, коммутационные аппараты, осветительные элементы
Чтобы глядя на схему хотя бы мало-мальски в ней разбираться, нужно знать каково условное обозначение выключателей и розеток на чертежах. Предлагаем вам этому немного поучиться.
Очень многие начинают ремонтные работы в строящемся доме или вновь приобретённой квартире с приглашения специалиста для помощи в составлении схемы. От вас потребуется лишь подробно рассказать, где вы планируете располагать крупногабаритную мебель и бытовую электротехнику. А уже задача профессионала – схематически отобразить всё это с указанием места установки выключателей и розеток на плане. Такой чертёж поможет вам чётко определиться с количеством необходимых материалов и рационально распланировать порядок ведения электромонтажных работ.
Мы не будем вести речь о сложных электрических элементах, типа рубильников, реле, тиристоров, симисторов, двигателей. Для домашних электросетей в этом нет необходимости. Наша главная задача – научиться распознавать обозначение бытовых выключателей и розеток на схематических чертежах.
Буквенные обозначения в электрических схемах
Буквенные обозначения определены ГОСТ 2.710-81 «ЕСКД. Обозначения буквенно-цифровые в электрических схемах».
Обозначения дифавтоматов и УЗО в этом ГОСТ отсутствует. На различных сайтах и форумах в интернете долго обсуждали как же правильно обозначать УЗО и дифавтомат. ГОСТ 2.710-81 в п.2.2.12. допускает использование многобуквенных кодов (а не только одно- и двухбуквенных), поэтому до введения нормативного обозначения я для себя принял трехбуквенное обозначение УЗО и дифавтомата. К двухбуквенному обозначению рубильника я добавил букву D и получил обозначение УЗО. Аналогично поступил с дифавтоматом.
Думаю, в скором времени он будет перевыпущен и обозначение УЗО будет добавлено.
Обозначения основных элементов, используемых в однолинейных схемах электрических щитов:
| Наименование | Обозначение |
| Автоматический выключатель в силовых цепях | QF |
| Автоматический выключатель в цепях управления | SF |
| Автоматический выключатель с дифференциальной защитой (дифавтомат) | QFD |
| Выключатель нагрузки (рубильник) | QS |
| Устройство защитного отключения (УЗО) | QSD |
| Контактор | KM |
| Тепловое реле | F, KK |
| Реле времени | KT |
| Реле напряжения | KV |
| Фотореле | KL |
| Импульсное реле | KI |
| Разрядник, ОПН | FV |
| Плавкий предохранитель | FU |
| Трансформатор тока | TA |
| Трансформатор напряжения | TV |
| Частотный преобразователь | UZ |
| Амперметр | PA |
| Вольтметр | PV |
| Ваттметр | PW |
| Частотометр | PF |
| Счетчик активной энергии | PI |
| Счетчик реактивной энергии | PK |
| Фотоэлемент | BL |
| Нагревательный элемент | EK |
| Лампа осветительная | EL |
| Прибор световой индикации (лампочка) | HL |
| Штепсельный разъем (розетка) | XS |
| Выключатель или переключатель в цепях управления | SA |
| Выключатель кнопочный в цепях управления | SB |
| Клеммы | XT |
Условные графические обозначения на электросхемах
В связи с тем, что на данный момент существует огромное количество всевозможных элементов электросхем, для каждого из них нужно свое обозначение в виде символов, букв и цифр, а также графических изображений. Чтобы не было разногласий и разночтений, были разработаны нормативные документы, которые недвусмысленно закрепляют за каждым элементом буквенно-цифровое и графическое обозначение. Следующий список включает все основные стандарты условностей:
- ГОСТ 2.710 81 — Требования государственного стандарта к буквенно-цифровым обозначениям различных конструктивных электроэлементов и электроприборов;
- ГОСТ 2.747 68 — Требования к размерным характеристикам графических изображений;
- ГОСТ 21.614 88 — Нормы, которые приняты для планирования монтажа электрооборудования и электропроводки;
- ГОСТ 2.755 87 — Требования по обозначению на схеме контактов, соединений и коммутационного оборудовании;
- ГОСТ 2.709 89 — Стандарт, регулирующий обозначение соединений контактов и проводки;
- ГОСТ 21.404 85 — Требования по обозначению средств автоматизации при описании технических процессов на предприятии.
Чертежи вакуумных приборов
Перед тем, как перейти к обозначениям элементов схем, следует сказать, что и сами схемы имеют буквенное обозначение. Так, структурные схемы обозначаются цифрой 1, функциональные схемы — 2, принципиальные (полные) схемы — 3, монтажные схемы (схемы соединений) — 4, схемы подключения — 5, общие схемы — 6, схемы расположения — 7, а схемы объединения — 0.
Газовый чертеж генератора
По видам обозначения также имеются:
- электрические схемы — Э;
- гидравлические схемы — Г;
- пневматические схемы — П;
- газовые схемы — Х;
- кинематические схемы — К;
- вакуумные схемы — В;
- оптические схемы — Л;
- энергетические схемы — Р;
- схемы деления — Е;
- комбинированные схемы — С.
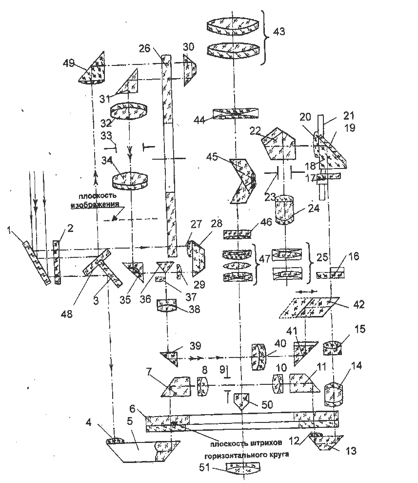
Оптическая схема теодолита
Для всех типов графических документов существуют свои обозначения, которые регулируются специальными государственными стандартами и прочими документами нормативного характера. Например, можно привести основные графические обозначения для некоторых видов электросхем. В функциональных схемах часто обозначаются основные узлы и средства автоматизации.
Таблица функциональных УГО
Согласно картинке, обозначения следующие:
- А — Приборы, которые установлены за электрическим щитом или распределительной коробкой. 1 — основной вид, 2 — допускаемый;
- В — Приборы, которые установлены в пределах электрического щитка или распределительной коробки;
- С — Графическое представление исполнительных механизмов;
- D — Способ влияния исполнительного механизма на орган, который его регулирует в случае отключения питания элемента. Первый вариант — открытие органа регулирования, второй — его закрытие, а третий — отсутствие каких-либо изменений;
- E — Исполнительный механизм с установленным ручным приводом. Такой тип механизма может быть указан также в любом случае из предыдущего пункта списка;
- F — Изображение линий связи: 1 — общая линия, 2 — линия пересечения без соединения, 3 — линия с соединениями.
В однолинейных и полных схемах есть несколько видов обозначений. Ниже будут приведены самые распространенные из них.
Таблица УГО для источников электропитания
На данном изображении приведены следующие виды источников питания:
- А — источники постоянного тока и напряжения. Их полярность определяется знаками «+» и «-» на разных сторонах;
- B — переменное напряжение;
- C — переменное и постоянное напряжение, которое используется в устройстве, которое может работать ото всех типов электроэнергии;
- D — Источник питания аккумуляторного или гальванического типа;
- E — Схематическое изображение батареи или аккумулятора, который состоит из нескольких элементов питания.
УГО электромеханических устройств
Обозначения электромеханических элементов и устройств включает в себя:
- А — Катушки электрических приборов, к которым относятся реле, магнитные пускатели и так далее;
- В — графические обозначения для воспринимающих частей тепловых элементов;
- С — Катушка прибора с блокировкой механического типа;
- D — Контактные элементы приборов коммутации, включающие замыкающие, размыкающие и переключающие типы;
- Е — УГО для переключателей и кнопок;
- F — Обозначение рубильника.
5 Правила выполнения схем[править]
5.1 Правила выполнения структурных схемправить
5.1.1 На структурной схеме изображают все основные функциональные части изделия (элементы, устройства и функциональные группы) и основные взаимосвязи между ними.
5.1.2 Функциональные части на схеме изображают в виде прямоугольников или УГО.
5.1.3 Графическое построение схемы должно обеспечивать наилучшее представление о последовательности взаимодействия функциональных частей в изделии.
На линиях взаимосвязей рекомендуется стрелками обозначать направление хода процессов, происходящих в изделии.
5.1.4 На схеме должны быть указаны наименования каждой функциональной части изделия, если для её обозначения применен прямоугольник.
На схеме допускается указывать тип элемента (устройства) и (или) обозначение документа (основного конструкторского документа, стандарта, технических условий), на основании которого этот элемент (устройство) применен.
При изображении функциональных частей в виде прямоугольников наименования, типы и обозначения рекомендуется вписывать внутрь прямоугольников.
5.1.5 При большом количестве функциональных частей допускается взамен наименований, типов и обозначений проставлять порядковые номера справа от изображения или над ним, как правило, сверху вниз в направлении слева направо. В этом случае наименования, типы и обозначения указывают в таблице, помещаемой на поле схемы.
5.2 Правила выполнения функциональных схемправить
5.2.1 На функциональной схеме изображают функциональные части изделия (элементы, устройства и функциональные группы), участвующие в процессе, иллюстрируемом схемой, и связи между этими частями.
5.2.2 Функциональные части и взаимосвязи между ними на схеме изображают в виде УГО, установленных в стандартах ЕСКД. Отдельные функциональные части допускается изображать в виде прямоугольников.
5.2.3 Графическое построение схемы должно давать наиболее наглядное представление о последовательности процессов, иллюстрируемых схемой.
5.2.4 Элементы и устройства изображают на схемах совмещенным или разнесенным способом.
5.2.5 При совмещенном способе составные части элементов или устройств изображают на схеме в непосредственной близости друг к другу.
5.2.6 При разнесенном способе составные части элементов и устройств или отдельные элементы устройств изображают на схеме в разных местах таким образом, чтобы отдельные цепи изделия были изображены наиболее наглядно.
Разнесенным способом допускается изображать все и отдельные элементы или устройства.
При выполнении схем рекомендуется пользоваться строчным способом. При этом УГО элементов или их составных частей, входящих в одну цепь, изображают последовательно друг за другом по прямой, а отдельные цепи — рядом, образуя параллельные (горизонтальные или вертикальные) строки.
При выполнении схемы строчным способом допускается нумеровать строки арабскими цифрами (см. ).
5.2.7 При изображении элементов или устройств разнесенным способом допускается на свободном поле схемы помещать УГО элементов или устройств, выполненные совмещенным способом. При этом элементы или устройства, используемые в изделии частично, изображают полностью с указанием использованных и неиспользованных частей или элементов (например, все контакты многоконтактного реле).
Виды и типы электрических схем
На электрических схемах требуется размещать кодировку элементов. Чертежи бывают трёх типов:
- функциональный;
- принципиальный;
- монтажный.
Функциональный
На плане указывают основные узлы электроустройства. Чертёж представляет определённое количество прямоугольников, между которыми проведены связующие линии. Внутрь каждой фигуры вписывают название функционального блока.
Функциональная схема
Принципиальный
План содержит сеть, связывающую радиоэлементы в единую систему. Это же относится к планировке электрических сетей. На схеме все детали отмечены маркировкой. Принципиальные чертежи создают как однолинейные, так и полные. План однолинейного построения передаёт изображение одних силовых цепей. Элементы контроля управления помещают на другом чертеже. Делают это из-за громоздкости электрических схем.
Важно! Когда строение приборов или устройств не представляют особую сложность, то чертежи объединяют в единый план, который называют полной схемой. Принципиальный план радиоприёмного устройства
Принципиальный план радиоприёмного устройства
Монтажный
В отличие от вышеуказанных чертежей, монтажная схема, кроме указания элементов, определяет их точное положение в двумерном пространстве. Проводку электрической сети в доме или квартире изображают с точным положением розеток, включателей, светильников и других приборов. Указывают расстояния от элементов до стеновых ограждений. На монтажных радиосхемах отмечают положение радиокомпонентов, способы и порядок их монтажа.
Монтаж электропроводки и устройств в комнатах жилища
Схема электропроводки
Составление схемы электропроводки необходимо при строительстве или капитальном ремонте дома. Выполняется эта схема на плане помещения с указанием высоты прокладки кабелей и мест установки автоматов, розеток и выключателей.
Этим планом будет пользоваться не только тот человек, который её составил, но и монтажники, а впоследствии и электромонтёры, ремонтирующие электропроводку. Поэтому условные изображения розеток и выключателей на чертежах должны быть понятны всем и соответствовать ГОСТу.
Обозначение розеток на электросхемах
Условное обозначение розетки – полукруг. Количество и направление чёрточек, отходящих от него, показывают все параметры этих устройств:
- Для скрытой проводки полукруг пересекается вертикальной чертой. В устройствах для открытой проводки она отсутствует;
- В одинарной розетке вверх отходит одна линия. В двойных – такая черточка сдвоенная;
- Однополюсная розетка обозначается одной линией, трёхполюсная – тремя, расходящимися веером;
- Степень защиты от погодных условий. Приборы с защитой IP20 изображаются прозрачным полукругом, а с защитой IP44-IP55 – этот полукруг закрашивается чёрным цветом;
- Наличие заземления показывается горизонтальной чертой. Она одинаковая в устройствах любой конфигурации.
Условное обозначение розеток на чертеже
Интересно. Кроме электрических розеток, есть компьютерные (для LAN-кабеля), телевизионные (для антенны) и даже вакуумные, к которым подключается шланг от пылесоса.
Обозначение выключателей на схемах
Выключатели на всех чертежах имеют вид небольшого кружка с наклонённой вправо чертой вверху. На ней нанесены дополнительные чёрточки. По количеству и виду этих чёрточек можно определить параметры устройства:
- крючок в виде буквы «Г» – аппарат для открытой проводки, поперечная черта в виде буквы “Т” – для скрытой;
- черта одна – одноклавишный выключатель, две – двухклавишный, три – трёхклавишный;
- если кружок закрашен, то это устройство со степенью защиты от погодных условий IP44-IP55.
Условное обозначение выключателей
Кроме обычных выключателей, есть проходные и перекрёстные, позволяющие управлять светом из нескольких мест. Обозначение таких аппаратов в электрических схемах аналогично обычным, но наклонных черт две: вправо-вверх и влево-вниз. Условные знаки на них дублируются.
Обозначение блока выключателей с розеткой
Для удобства пользования и более эстетичного вида эти приборы устанавливаются в соседних монтажных коробках и закрываются общей крышкой. Обозначаются по ГОСТу такие блоки полукругом, линии на котором соответствуют каждому устройству в отдельности.
На следующем рисунке два примера блоков выключателей и розеток:
- конструкция для скрытой проводки из розетки с заземляющим контактом и двойного выключателя;
- конструкция для скрытой проводки из розетки с заземляющим контактом и двух выключателей: двойного и одинарного.
Обозначение блока выключателей с розеткой
Условные обозначения других приборов
Кроме розеток и выключателей, в схемах электропроводки используются и другие элементы, имеющие свои обозначения.
В основу обозначения устройств защиты: автоматических выключателей, УЗО и реле контроля напряжения, заложено изображение открытого контакта.
Обозначение автоматического выключателя по ГОСТу состоит из необходимого количества контактов, соединённых между собой, и квадратика сбоку. Это символизирует одновременное срабатывание и системы защиты. Вводные автоматы в квартирах обычно двухполюсные, а для отключения отдельных нагрузок используют однополюсные.
Автоматический выключатель на обычных и однолинейных схемах
Специальных обозначений по ГОСТу для УЗО и дифференциальных автоматов не существует, поэтому они отражают особенности конструкции. Такие устройства представляют собой трансформатор тока и исполнительное реле с контактами. В дифавтоматах к ним добавлен автомат защиты от перегрузки и короткого замыкания.
Изображение УЗО и дифференциального автомата на схемах
Реле контроля напряжения отключает электроприборы при отклонении напряжения за допустимые пределы. Состоит такое устройство из электронной платы и реле с контактами. Это видно на схеме таких приборов. Она изображается на верхней крышке корпуса.
Схема реле контроля напряжения
Графические символы приборов освещения и подсветки, в том числе люстр на светодиодах, символизируют внешний вид и назначение приборов.
Условные обозначения светильников
Знание условных обозначений розеток и выключателей и другой аппаратуры на чертежах нужно при составлении проекта, монтаже и ремонте электропроводки и другого электрооборудования.
5.2 Форматы
5.2.1 Форматы листов схем
выбирают в соответствии с требованиями, установленными в ГОСТ 2.301 и ГОСТ
2.004, при этом основные форматы являются предпочтительными. При выборе
форматов следует учитывать:
— объем и сложность
проектируемого изделия (установки);
— необходимую степень
детализации данных, обусловленную назначением схемы;
— условия хранения и
обращения схем;
— особенности и
возможности техники выполнения, репродуцирования и (или) микрофильмирования
схем;
— возможность
обработки схем средствами вычислительной техники.
Выбранный формат должен
обеспечивать компактное выполнение схемы, не нарушая ее наглядности и удобства
пользования ею.


















































